Salvatore Pais
Salvatore Cezar Pais is an American aerospace engineer and inventor, currently working for the United States Space Force. He formerly worked at the Naval Air Station Patuxent River. His patent applications on behalf of his employers have attracted international attention for their potential military and energy-producing applications, but also doubt about their feasibility, and speculation that they may be misinformation intended to mislead the United States' adversaries or a scam.[1]
Salvatore Pais | |
|---|---|
![]() | |
| Born | Salvatore Cezar Pais |
| Occupation(s) | Aerospace engineer, inventor |
| Academic background | |
| Alma mater | Case Western Reserve University |
| Thesis | "Bubble generation under reduced gravity conditions for both co-flow and cross-flow configurations" (1999) |
| Doctoral advisor | Yasuhiro Kamotani |
| Academic work | |
| Discipline | Engineer |
| Main interests | Physics of low gravity |
Education and doctoral research

Salvatore Pais received his advanced education at Case Western Reserve University in Ohio, graduating with an MS for a thesis titled "Design of an experiment for observation of thermocapillary convection phenomena in a simulated floating zone under microgravity conditions" in 1993.[2]
Pais received his PhD in mechanical and aerospace engineering from Case Western in 1999 on the subject of "Bubble generation under reduced gravity conditions for both co-flow and cross-flow configurations" for which he endured a number of parabolic flights to produce a low-gravity environment.[3] His doctoral advisers were Yasuhiro Kamotani and Simon Ostrach who had carried out spacelab experiments in low-gravity aboard the space shuttle STS-50 in 1992.[4] Pais's research was sponsored by NASA.[5]
Career


Pais works as a scientist, aerospace engineer, and inventor, at the United States Navy's Naval Air Station Patuxent River. His patent applications on behalf of his employers have attracted international attention for their futuristic-sounding technology and potential military and energy-producing applications, but have also led to speculation that they may be misinformation intended to mislead the United States' strategic adversaries about the direction of United States defense research.[1]
Pais left the NAWCAD in June 2019 and moved to the US Navy's Strategic Systems Programs organization. He transferred to the U.S. Air Force in 2021.[8]
His patent applications include:
- A "piezoelectricity-induced room temperature superconductor" with the function of enabling "the transmission of electrical power with no losses."(2017).[9][10] The Institution of Engineering and Technology commented that no evidence was presented to show that the device worked and that the highest temperature superconductors so far created worked at around -70 °C.[11]
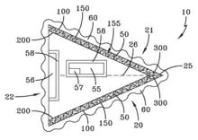
- A "plasma compression fusion device" (2018),[7][12][13] described by Popular Mechanics as a "compact nuclear fusion reactor" that "seemingly stretch[es] the limits of science."[14]
- An "electromagnetic field generator and method to generate an electromagnetic field" (2015), the principal stated application of which is to deflect asteroids that may hit the Earth. The patent is assigned to the US Secretary of the Navy.[15]
- A "craft using an inertial mass reduction device" (2016), one embodiment of which could be a high speed "hybrid aerospace/undersea craft" able to "engineer the fabric of our reality at the most fundamental level",[6] the patent application for which was supported by the Naval Aviation Enterprise's chief technical officer on the grounds that the Chinese military were already developing similar technology.[1]
- A "high frequency gravitational wave generator" that may be used "for advanced propulsion, asteroid disruption and/or deflection, and communications through solid objects."(2017).[16]
Testing on the feasibility of a High Energy Electromagnetic Field Generator (HEEMFG) occurred from October 2016 to September 2019; at a total cost of $508,000 over three years. The vast majority of expenditure was on salaries. The "Pais Effect" could not be proven and no further research was conducted.[8] Brett Tingley wrote for The Drive that "Despite every physicist we have spoken to over the better part of two years asserting that the "Pais Effect" has no scientific basis in reality and the patents related to it were filled with pseudo-scientific jargon, NAWCAD confirmed they were interested enough in the patents to spend more than a half-million dollars over three years developing experiments and equipment to test Pais' theories".[8] Pais remained defiant regarding the veracity of his theories, in an email to The Drive he wrote that his work "culminates in the enablement of the Pais Effect...as far as the doubting SMEs [Subject Matter Experts] are concerned, my work shall be proven correct one fine day...".[8]
It has been speculated that reconnaissance aircraft utilizing the technology behind Pais' patents may be responsible for the phenomena appearing in the Pentagon UFO videos. The Chief Technical Officer (CTO) of the Naval Aviation Enterprise, Dr. James Sheehy, personally wrote a letter to the primary patent examiner at the United States Patent and Trademark Office (USPTO) claiming that they needed expedited approval of the patent because China is already “investing significantly” in these aerospace technologies which sound eerily similar to the UFOs reported by U.S. Navy pilots in the now well-known encounters. This raises the question of whether China has been developing or even already flying craft utilizing similar advanced technologies.[1][17][18][19]
Selected publications
Scientific literature
- Pais, Salvatore Cezar (September 1, 1991). "The Induced Thrust Effect; A Propulsion Method". SAE Technical Paper Series. Aerospace sector. SAE Technical Papers (SAE Technical Paper). Vol. 1. Society of Automobile Engineers Technical International Papers. doi:10.4271/912234. ISSN 0148-7191.
- Pais, Salvatore Cezar (2015). "Conditional possibility of spacecraft propulsion at superluminal speeds". International Journal of Space Science and Engineering (published May 12, 2015). 3 (1): 89–92. Bibcode:2015IJSSE...3...89P. doi:10.1504/IJSPACESE.2015.069339.
- Pais, Salvatore Cezar (2015). "The high energy electromagnetic field generator". International Journal of Space Science and Engineering (published April 12, 2016). 3 (4): 312–317. Bibcode:2015IJSSE...3..312P. doi:10.1504/IJSPACESE.2015.075910.
- Pais, Salvatore Cezar (September 19, 2017). "High Frequency Gravitational Waves - Induced Propulsion". SAE Technical Paper Series. Aerospace sector. SAE Technical Papers (SAE Technical Paper). Vol. 1. Society of Automobile Engineers Technical International Papers. doi:10.4271/2017-01-2040. ISSN 0148-7191.
- A Hybrid craft using an inertial mass modification device. AIAA Space Forum 2017-5343. American Institute of Aeronautics and Astronautics (AIAA) (published September 15, 2017). 2017. doi:10.2514/6.2017-5343.
- Room Temperature Superconducting System for use on a Hybrid Aerospace-Undersea Craft. AIAA Scitech Forum 2019-0869. American Institute of Aeronautics and Astronautics (AIAA) (published January 6, 2019). 2019. doi:10.2514/6.2019-0869.
Patent literature
- "Craft using an inertial mass reduction device". USPTO (10144532). December 4, 2018.
- "High frequency gravitational wave generator". USPTO (10322827). June 18, 2019.
- "Electromagnetic field generator and method to generate an electromagnetic field". USPTO (10135366). November 20, 2018.
- "Plasma Compression Fusion Device". USPTO (20190295733). September 26, 2019.
- "Laser augmented turbojet propulsion system". USPTO (20170313446). July 25, 2006.
References
- Brett Tingley; Tyler Rogoway (June 28, 2019). "Docs Show Navy Got 'UFO' Patent Granted By Warning Of Similar Chinese Tech Advances". The Drive. Retrieved December 6, 2019.
- Pais, Salvatore Cezar (1993). Design of an experiment for observation of thermocapillary convection phenomena in a simulated floating zone under microgravity conditions / by Salvatore Cezar Pais. Case Western Reserve University (Thesis). Retrieved December 6, 2019.
- Pais, Salvatore Cezar (1999). "Bubble Generation in a Continuous Liquid Flow Under Reduced Gravity Conditions" (PDF). Case Western Reserve University. Cleveland. p. ii.
- Ostrach, S.; Kamotani, Y. (June 1996). "STDCE" (PDF). Ntrs.nasa.gov. NASA. Retrieved December 10, 2018.
{{cite web}}: CS1 maint: url-status (link) - Pais, Salvatore Cezar (July 1999). "Bubble Generation in a Continuous Liquid Flow Under Reduced Gravity Conditions". NASA Technical Reports Server. Retrieved December 6, 2019.
- US 10144532B2, Salvatore Cezar Pais, "Craft using an inertial mass reduction device", published 2018-12-04, issued 2018-12-04, assigned to United States Secretary of the Navy
- US 20190295733A1, Salvatore Cezar Pais, "Plasma Compression Fusion Device", published 2019-09-26, assigned to United States Secretary of the Navy
- Brett Tingley (February 1, 2021). "The Navy Finally Speaks Up About Its Bizarre "UFO Patent" Experiments". The Drive. Retrieved February 4, 2021.
- US 20190058105A1, Salvatore Cezar Pais, "Piezoelectricity-induced Room Temperature Superconductor", published 2019-02-21, assigned to United States Secretary of the Navy
- Troy Carter (February 22, 2019). "Navy files for patent on room-temperature superconductor". phys.org. Retrieved December 6, 2019.
- "US Navy scientist files 'revolutionary' superconductor patent claim". Engineering & Technology. February 25, 2019. Retrieved December 13, 2019.
- Brett Tingley; Tyler Rogoway (October 9, 2019). "Scientist Behind The Navy's "UFO Patents" Has Now Filed One For A Compact Fusion Reactor". The Drive. Retrieved December 6, 2019.
- Stephen Kuper (November 1, 2019). "Player two has entered the game: US Navy files fusion reactor patent". Defence Connect. Retrieved December 6, 2019.
- Jennifer Leman (October 10, 2019). "The Navy's Patent for a Compact Nuclear Fusion Reactor Is Wild". Popular Mechanics. Retrieved December 6, 2019.
- US 10135366B2, Salvatore Cezar Pais, "Electromagnetic field generator and method to generate an electromagnetic field", published 2018-11-20, issued 2018-11-20, assigned to United States Secretary of the Navy
- US 10322827B2, Salvatore Cezar Pais, "High frequency gravitational wave generator", published 2019-06-18, issued 2019-06-18, assigned to United States Secretary of the Navy
- Ariel Cohen (February 8, 2021). "What Is Behind The U.S. Navy's 'UFO' Fusion Energy Patent?". Forbes. Retrieved November 27, 2022.
- Vince Iral (February 17, 2021). "The Navy's 'UFO patents': Failed attempts to unlock alien technology?". Parola Analytics. Retrieved November 11, 2022.
- SpyTalk (June 25, 2021). "Did the Navy Try to Design Its Own UFO?". The Daily Beast. Retrieved November 27, 2022.
